Swissmar Alpenrost Coffee Bean Roaster Home Rotary Drum

  • $499.49
    Unit price per 
Shipping calculated at checkout.


 

Swissmar Alpenrost Rotary Drum Coffee Bean Roaster

Brand-new, unused, undamaged item still sealed in its original and sealed plastic bag packaging


I bought a pair of these in ~2005, thinking when one broke I'd use the 2nd.  I've been using number 1 for ~20 years and its still going strong. I'm downsizing and moving and don't have the space to keep this one.  This is a rock solid roaster and the one I've been using has never had a problem, these are first-class machines.

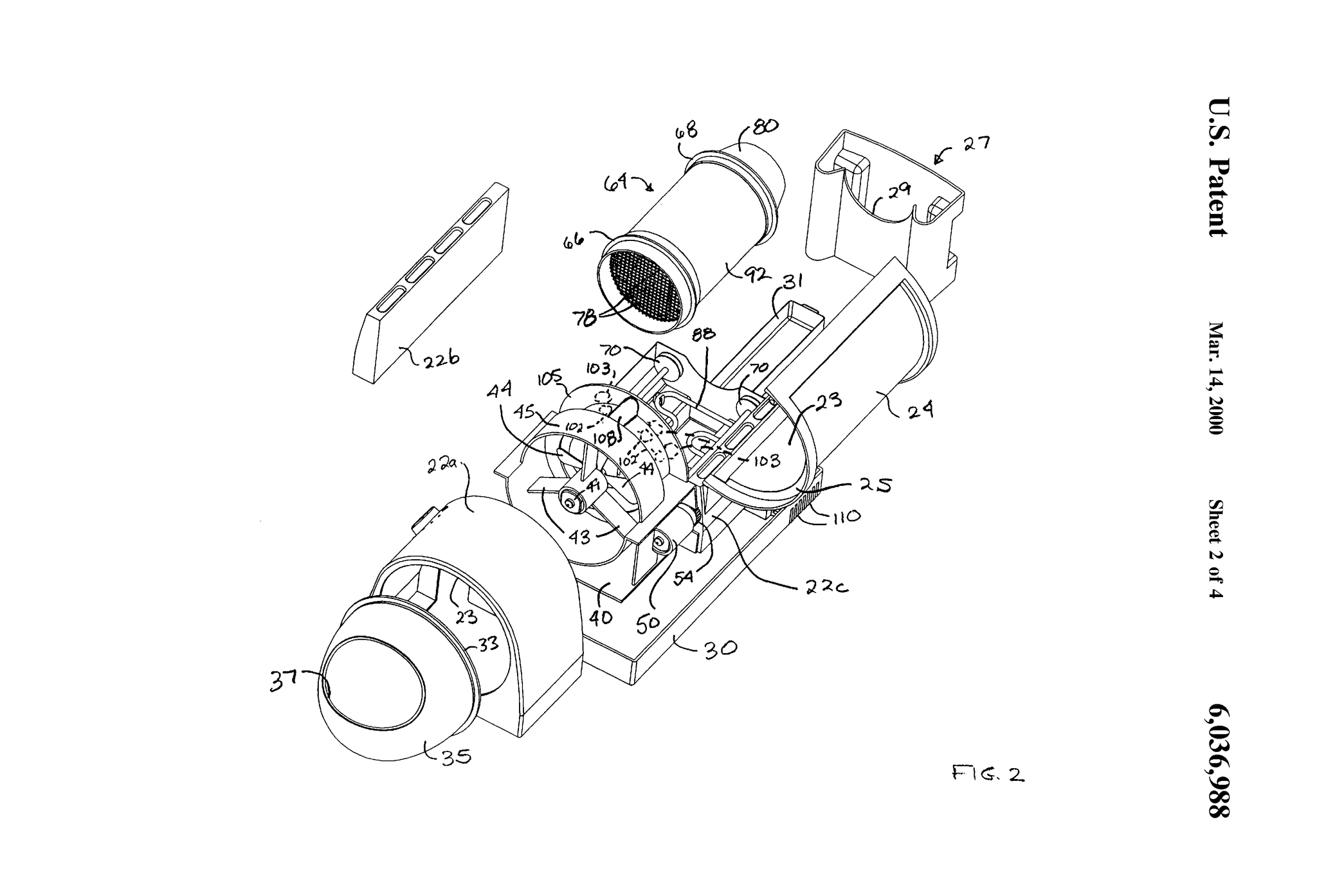
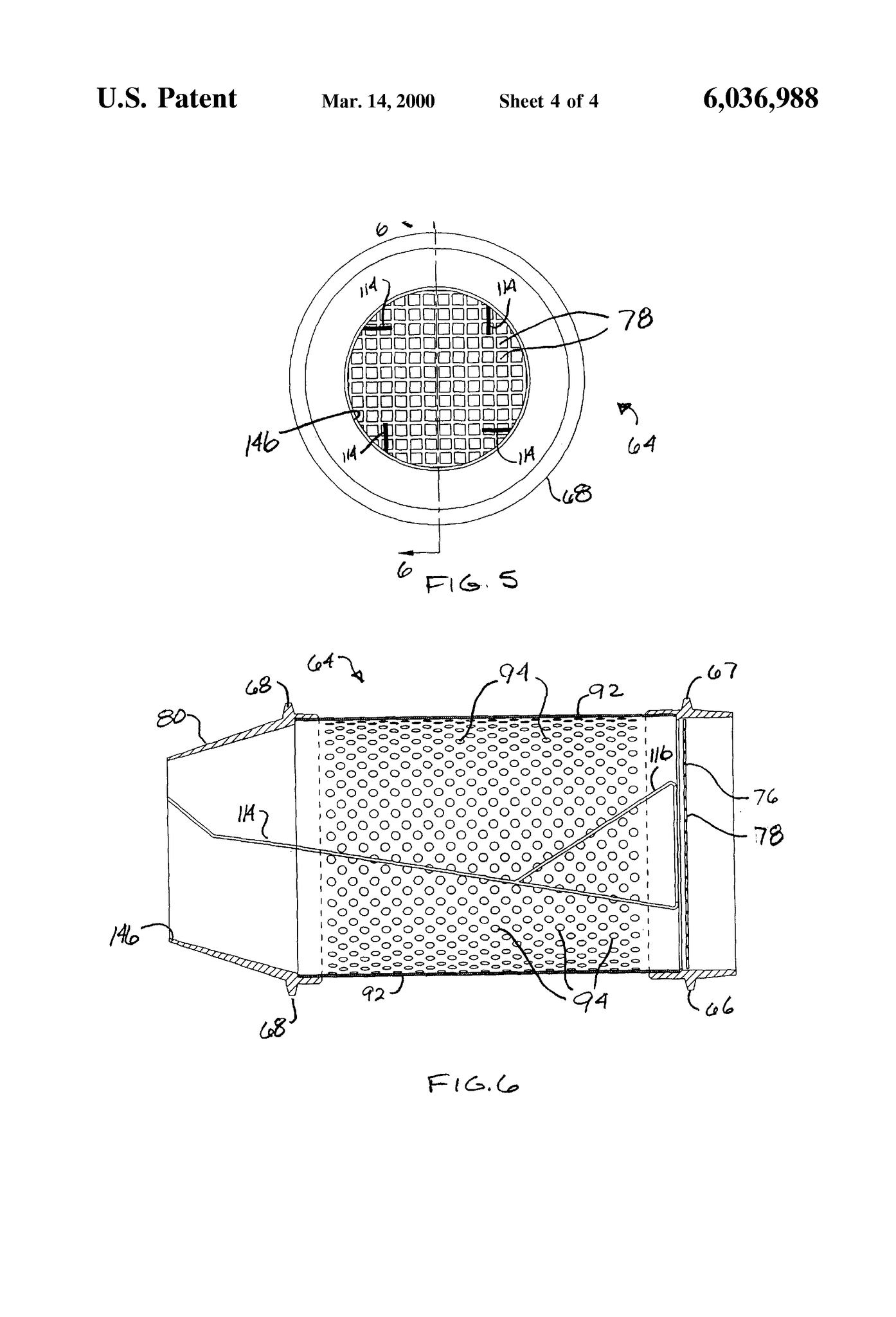
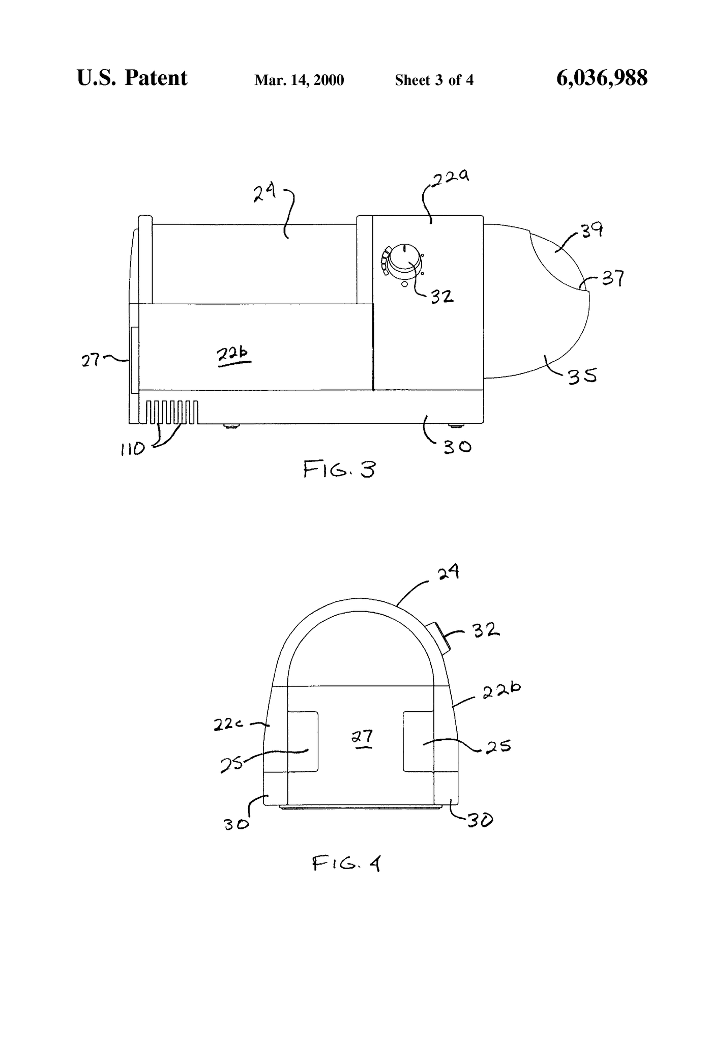
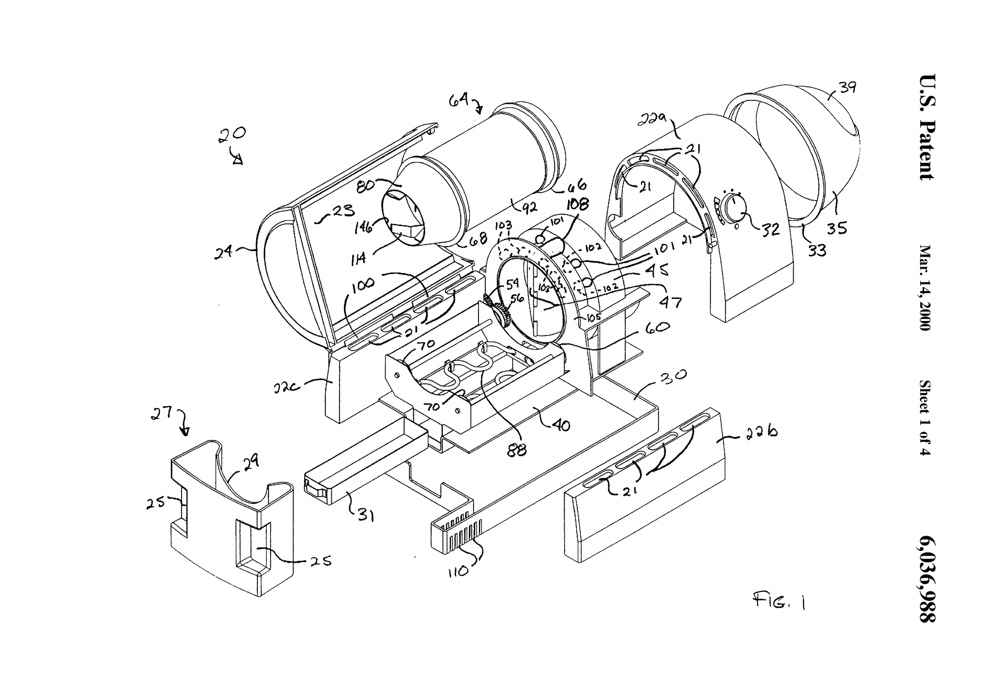
  • Home coffee roaster roasts from 2 to 8 ounces of coffee beans at a time
  • Roasts, cools, removes chaff, and expels beans into bean cup; quiet operation
  • Temperature- and time-controlled cycles; 15 different roast settings
  • Flow-Thru ventilation; stay-cool exterior; dishwasher-safe parts for easy cleanup
  • Measures 20 by 8 by 8-1/2 inches; 

https://patents.google.com/patent/US6036988